
特殊封裝
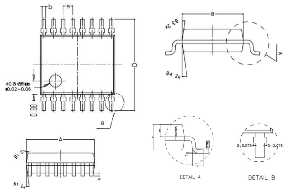
品名:SSSOP-16封裝定制
SSOP-16封裝的體積較小,能夠在緊湊的電路板上提供更高的集成度。宇凡微提供24小時出樣,除SSOP-16外還提供多種封裝形式,歡迎咨詢本站客服。
服務熱線:0755-82225097
微信二維碼
ALL RIGHT RESERVED 2022. 粵ICP備17095549號 技術支持: 牛商股份 百度統(tǒng)計
粵公網(wǎng)安備 44030402004503號